Kinugawa Chain Mfg.Co.,Ltd.

TEL 81-79-234-1515 FAX 81-79-2-4-1519


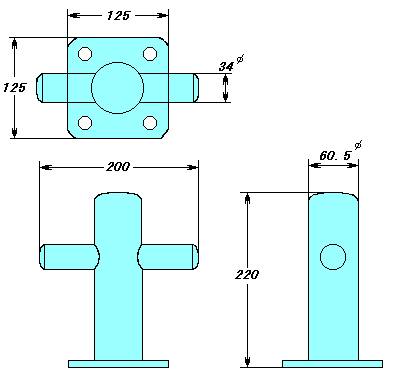
Many stainless crossbits are used for mooring facilities of leisure boats.
As the beautiful shape and reliable strength, they are trusted by men of sea.