TEL  079 - 234 - 1515   FAX  079 - 234 - 1519


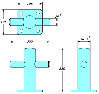
ステンレスのクロスビットはレジャーボートの係留設備にたくさん使われます。
そのきれいな形と信頼される強さは、海の男に慕われています。